星空体育开户
    新闻中心
    新闻中心 您当前的位置:首页 > 新闻中心

    星空体育开户:优机股份新获外观设计专利创新齿辊破碎机引关注

    来源:星空体育开户    发布时间:2025-06-19 10:23:39

    星空体育 莱切:

      

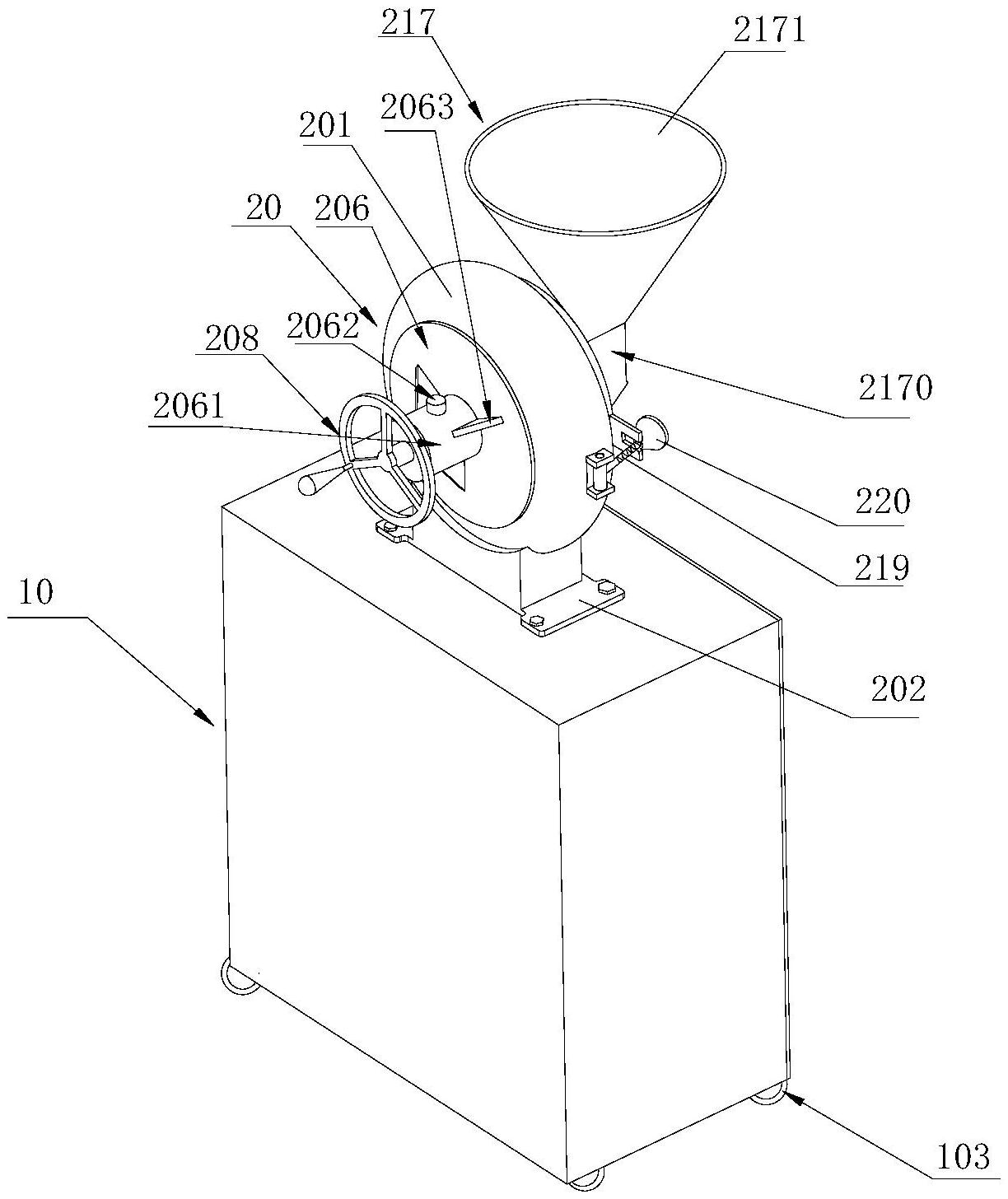
    优机股份新获外观设计专利创新齿辊破碎机引关注

      在科技加快速度进行发展的今天,创新是企业生存与发展的核心动力。近日,优机股份(833943)在外观设计领域又迈出了一大步,获得了一项名为“齿辊破碎机的辊齿”的外观设计专利。这项专利的授权日期为2025年6月3日,标志着优机股份在破碎机领域的技术进步。

      根据天眼查APP的信息,这项新专利的申请号为CN2.5,大多数都用在细碎各种物料,其设计的重点是辊齿的形状。这一创新设计不仅提升了设备的性能,还可能会在市场之间的竞争中为优机股份带来新的机遇。

      回顾2024年,优机股份在研发方面的投入达到了3825.13万元,同比增长6.78%。然而,有必要注意一下的是,今年以来公司新获得的专利授权数量较去年同期减少了66.67%,这一变化引发了业内的广泛关注。如何在保持技术创新的同时提高专利申请的效率,将是公司未来发展需要面对的重要课题。

      对于齿辊破碎机的辊齿设计,值得一提的是,齿辊破碎机大范围的应用于矿山、建筑等领域,其重点是破碎效率和耐用性。随着行业对设备性能要求的不断的提高,优机股份的这项新专利不但可以满足市场需求,也可能推动整个行业的技术进步。

      在当前的市场环境中,企业不仅要关注技术创新,还应关注如何将这些技术转化为实际的市场竞争力。优机股份的研发投入虽然有所增加,但如何将这些研发成果有效转化为市场产品,是企业持续发展的关键。

      从社会的角度来看,优机股份的创新不仅能为公司带来经济利益,还能为相关行业的进步做出贡献。随着环保法规的日益严格,提升破碎机的效率和减少能耗,慢慢的变成了行业发展的重要方向。优机股份的创新设计,正是对这一趋势的积极响应。

      总的来说,优机股份在获得新专利的同时,也面临着市场变化带来的挑战与机遇。如何在激烈的市场之间的竞争中保持技术领头羊,持续推动产品创新,将是公司未来发展的重要课题。希望优机股份能够在接下来的时间里,继续发挥技术优势,推动行业的进步与发展。返回搜狐,查看更加多

    推荐产品
    • 星空体育开户:跨境电子商务产品创新底层逻辑拆解:从专利布局到全链路成本优化

      跨境电子商务产品创新底层逻辑拆解:从专利布局到全链路成本优化

      VIEW MORE+
    • 星空体育开户:汝州独手农人废品变宝 废旧电动车变身松土除草神器

      汝州独手农人废品变宝 废旧电动车变身松土除草神器

      VIEW MORE+
    • 星空体育开户:2016-2021年中國小型松土機行業市場調查與投資远景研讨報告

      2016-2021年中國小型松土機行業市場調查與投資远景研讨報告

      VIEW MORE+
    星空体育开户平台 - 莱切合作与UED星空体育官网破碎锤厂家——烟台破碎锤生产厂家 主营产品:二手破碎锤、二手破碎锤租赁、烟台破碎锤
    备案号:鲁ICP备12004186号